Zum Hauptinhalt springen Zur Suche springen Zur Hauptnavigation springen
Merkliste
Anzahl der Fehlersignalschalter 0
Anzahl der Kontakte als Schließer 3
Anzahl der Kontakte als Wechsler 0
Anzahl der Kontakte als Öffner 0
Bemessungsschaltstrom 0.6 A
Bemessungsspannung 24 V
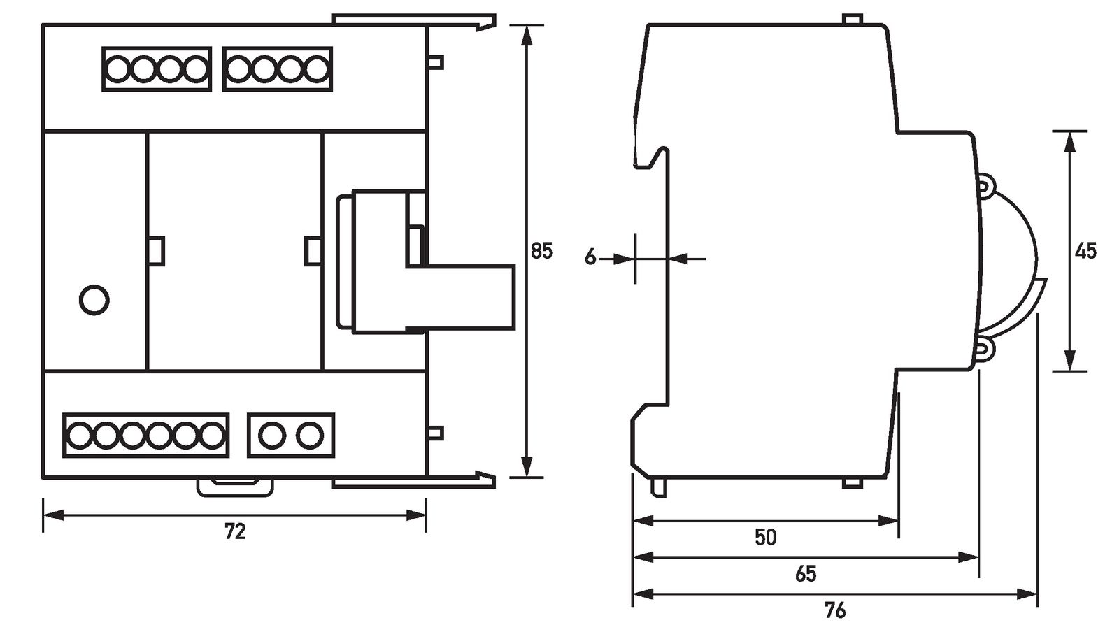
Breite in Teilungseinheiten 4
Funktion Fernantrieb
Geeignet für max. Polzahl der Hauptkontakteinheit (gesamt) 4
Geeignet für max. Stromstärke der Hauptkontakteinheit 63 A
Gerätemontage FI-Schutzschalter
Spannungsart AC/DC
Zusatzeinrichtung Fernantrieb
DOEPKE Fernantrieb 3S FI-Schutzschalt 0,6A 24V 4TE
Produktinformationen des Herstellers
Mit einem Fernantrieb (ARD) werden angeschlossene Fehlerstromschutzschalter aus der Ferne ein- und ausgeschaltet. Die Anlagenverfügbarkeit wird so deutlich erhöht. ARD mit Automatikfunktion schalten den Schutzschalter automatisch wieder ein. Bei einem erkannten Anlagenfehler erfolgt keine Wiedereinschaltung. Die Geräte dieser Baureihe schalten die Doepke-Fehlerstromschutzschalter DFS 2 und DFS 4. Je nach Ausführung machen die DFA drei, einen oder keinen Wiedereinschaltversuch. Sie werden linksseitig an den RCCB angesetzt. Fernantriebe dieser Ausführung schalten den Fehlerstromschutzschalter ein Mal wieder ein. Die Wiedereinschaltung erfolgt 15 Sekunden nach Auslösung. Der Automatikmodus kann ausgeschaltet werden, z. B. zum Schutz bei Wartungsarbeiten in der Verteilung. Die Spannungsversorgung erfolgt wahlweise mit 24 V AC oder DC. Zudem ist eine Fernauslösung durch eine Fehlerstromsimulation möglich. Die aktuelle Schaltposition des Schutzschalters (eingeschaltet, ausgelöst bzw. ausgeschaltet) wird durch drei integrierte Relaisschaltkontakte signalisiert. Eigenschaften: nachrüstbarer Fernantrieb für Doepke-Fehlerstromschutzschalter der Baureihen DFS 2 und DFS 4: Varianten für verschiedene Spannungsversorgungen: kompakte Bauform: Montageart: links vom Fehlerstromschutzschalter durch Klammerung: Schnellbefestigung auf Tragschiene: Einbaulage beliebig: Einsatzgebiete: Fernantriebe finden überall dort Anwendung, wo Elektroinstallationen nur schwer zugänglich sind oder eine hohe Anlagenverfügbarkeit erreicht werden soll. Dies können z. B. landwirtschaftliche Betriebsstätten, Kleinwindkraftanlagen, Photovoltaikinstallationen, Stromtankstellen für Elektromobile, Pumpstationen, Kläranlagen und Telekommunikationsanlagen sein. Hinweise: Laut Norm ist ein automatisches Wiedereinschalten nur in Bereichen erlaubt. zu denen ausschließlich elektrotechnisch unterwiesene Personen und Elektrofachkräfte Zutritt haben. Der Fernantrieb beeinflusst den
Mehr Informationen
Melde Dich zuerst an, um diese Funktion verwenden zu können.
Anzahl der Fehlersignalschalter 0
Anzahl der Kontakte als Schließer 3
Anzahl der Kontakte als Wechsler 0
Anzahl der Kontakte als Öffner 0
Bemessungsschaltstrom 0.6 A
Bemessungsspannung 24 V
Breite in Teilungseinheiten 4
Funktion Fernantrieb
Geeignet für max. Polzahl der Hauptkontakteinheit (gesamt) 4
Geeignet für max. Stromstärke der Hauptkontakteinheit 63 A
Gerätemontage FI-Schutzschalter
Spannungsart AC/DC
Zusatzeinrichtung Fernantrieb
DOEPKE Fernantrieb 3S FI-Schutzschalt 0,6A 24V 4TE
Produktinformationen des Herstellers
Mit einem Fernantrieb (ARD) werden angeschlossene Fehlerstromschutzschalter aus der Ferne ein- und ausgeschaltet. Die Anlagenverfügbarkeit wird so deutlich erhöht. ARD mit Automatikfunktion schalten den Schutzschalter automatisch wieder ein. Bei einem erkannten Anlagenfehler erfolgt keine Wiedereinschaltung. Die Geräte dieser Baureihe schalten die Doepke-Fehlerstromschutzschalter DFS 2 und DFS 4. Je nach Ausführung machen die DFA drei, einen oder keinen Wiedereinschaltversuch. Sie werden linksseitig an den RCCB angesetzt. Fernantriebe dieser Ausführung schalten den Fehlerstromschutzschalter ein Mal wieder ein. Die Wiedereinschaltung erfolgt 15 Sekunden nach Auslösung. Der Automatikmodus kann ausgeschaltet werden, z. B. zum Schutz bei Wartungsarbeiten in der Verteilung. Die Spannungsversorgung erfolgt wahlweise mit 24 V AC oder DC. Zudem ist eine Fernauslösung durch eine Fehlerstromsimulation möglich. Die aktuelle Schaltposition des Schutzschalters (eingeschaltet, ausgelöst bzw. ausgeschaltet) wird durch drei integrierte Relaisschaltkontakte signalisiert. Eigenschaften: nachrüstbarer Fernantrieb für Doepke-Fehlerstromschutzschalter der Baureihen DFS 2 und DFS 4: Varianten für verschiedene Spannungsversorgungen: kompakte Bauform: Montageart: links vom Fehlerstromschutzschalter durch Klammerung: Schnellbefestigung auf Tragschiene: Einbaulage beliebig: Einsatzgebiete: Fernantriebe finden überall dort Anwendung, wo Elektroinstallationen nur schwer zugänglich sind oder eine hohe Anlagenverfügbarkeit erreicht werden soll. Dies können z. B. landwirtschaftliche Betriebsstätten, Kleinwindkraftanlagen, Photovoltaikinstallationen, Stromtankstellen für Elektromobile, Pumpstationen, Kläranlagen und Telekommunikationsanlagen sein. Hinweise: Laut Norm ist ein automatisches Wiedereinschalten nur in Bereichen erlaubt. zu denen ausschließlich elektrotechnisch unterwiesene Personen und Elektrofachkräfte Zutritt haben. Der Fernantrieb beeinflusst den
Mehr Informationen
Melde Dich zuerst an, um diese Funktion verwenden zu können.
Artikel Aktionen
Artikelnummer 2775261
Hersteller DOEPKE
Originalbezeichnung DFA2-1
Werksnummer 09100112
EAN 4014712208339
Zolltarifnummer 85365080
Lagerart Beschaffungsware
Melde Dich zuerst an, um weitere Informationen zum Bestand zu erhalten

Zuletzt angesehen

Informationen direkt vom Hersteller

Katalogseiten

Bewertungen (0)

Durchschnittliche Bewertung von 0 von 5 Sternen

Gib eine Bewertung ab!

Teile Deine Erfahrungen mit dem Produkt mit anderen Kunden.